本教程聚焦SiC JFET 在固态断路器中的应用,核心内容包括三大板块,阐释 SiC JFET 的关键特性、系统说明 SiC JFET 如何推动电路保护系统取得重大进步、通过评估和测试结果展示产品性能。我们已介绍过浪涌电流、应对不断攀升的电力需求、为什么要使用固态断路器,以及SSCB 采用 SiC JFET 的四个理由。本文将继续介绍评估与结果、SiC JFET 如何实现热插拔控制。
评估与结果
为了评估固态断路器中的 Combo JFET 性能,我们使用了下图所示的评估板 (EVB) 。它用于搭配两个背靠背 UG4SC075005L8S 750 VAC Combo JFET 。 EVB 具备双向电流阻断能力,同时也允许电流双向流动。

该 EVB 有七个功能块:
‣ 电源通道,包括电池、缓冲器和栅极驱动器
‣ 电流感测调节和过流保护
‣ JFET 结温感测,测量 JFET VGS 压降
‣ VDS 感测,测量 MOSFET 压降
‣ 模数转换 (ADC)
‣ 微型计算机单元和接口 (MCU)
‣ 带输入和控制电源转换器的辅助电源

温度感测
结温可通过测量过驱时的栅源 JFET 电压来感测。测量只能在两个 JFET 都上电的情况下进行。

采用之前推文提到的双放大器温度感测方法, 我们将校准温度 TJ 与栅源电压曲线 VG_JFET 进行了比对。 此方法能够消除低压 MOSFET 的电压降引起的偏移。
下图表展示了 -25 A 至 +25 A 范围内 MOSFET 栅源电压测量结果。 应用抵消公式后, 可以得出更准确的“ 平均倒数” 曲线 T 56, 如图中棕色曲线所示。

由于两个 MOSFET 上的漏源电压可以相互抵消(与电流方向无关),因此很容易绘制一条反映两个 JFET 栅源电压测量结果平均值的曲线。这样,我们就能推导出整个 MOSFET VGS 范围内的正确结温。

最终结果是, 温度与电压之间呈现近乎理想的线性关系 。温升斜率遵循公式 y = 0.0077 x + 0.6104 , 最终得出 JFET电压 VG_JFET 随温度 T J 变化的系数为 2.54 mV/ °C。

通过 JFET 栅极电压降感测的结温 TJ 曲线, 也可用于绘制 Combo JFET 的归一化导通电阻测量结果在给定 TJ范围内的曲线。 下图假设 VGS 为 12 V, 电流 ID 为 80 A。漏源电压与导通电阻的关系由如下导通电阻公式表示:

其中 Np表示并联芯片数量。

电流感测
采用 EVB 测量电流有两种方法。 下方图表展示了分流电阻法的结果。 两个分流电阻被插入共源点。 该方法的结果具有非常令人满意的线性度。
第二种方法基于对漏源电压 VDS 和温度 T J 的测量结果进行估算, 而温度本身由导通电阻 RDS(on) 推导得到。 该方法的结果确实存在一定程度的非线性。
然而, 在测试器件的过流动作能力 ( 这种能力对于断路器至关重要 ) 时,这种较小程度的非线性不会成为问题 。 最重要的是最接近过流动作设置的电流测量结果, 此结果可以被非常精确地校准。

过流保护
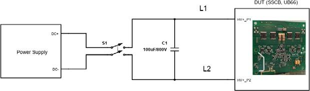
针对 EVB 的过流保护测试特性, 通过改变电阻值,将过流阈值设置为约 660 A。 过流状态被锁存, 直到手动复位或通过软件复位。

从开关 S 1 引出的电缆 L 1 和 L 2 为#12 AWG, 长度均为 61 cm 。 电容C1 是一个 100 μF/ 800 VDC 单元,充电至 150 VDC 。

栅极电阻 RG 的测试范围为 4.7 Ω 至 300 Ω。 每次测试所呈现的曲线与下图所示 100 Ω 测试的结果大致相同。 利用电容中储存的能量, 电流迅速提高到约 650 A。 此时, 比较器触发保护机制, 在约 7.5μs时安全关断电路。

SiC JFET 如何实现热插拔控制
前文介绍了浪涌电流限制的概念 , 并说明了要在更高电压下更快速 、更安全地关断电路, 必须使用固态断路器。
任何元件在用于限制浪涌电流之前 , 首先必须以线性模式 运行。 这是场效应晶体管最为人熟知的模式 , 其特点是输出波形会保留输入的形状和频率 , 包括信号被放大时。 线性模式( 也称为“ 有源模式” ) 要求宽裕的安全工作区(SOA) , 并确保热稳定性。
为了达到最佳效果 , 浪涌限制元件应兼具短路和过流保护功能 。 为确保实现这一目标, 开关速度必须可控 , 以限制电压过冲。 它还必须能够高度稳健地处理高峰值电流。
为确保正常运行, 该元件的导通电阻必须尽可能低 , 以减少导通损耗。 它必须尽可能小, 从而减少并联使用的元件数量。 综合所有这些要求 , 最合适的选择是 SiC JFET 和 SiC Combo JFET 。
了解线性工作模式
半导体器件( 及功率 MOS 器件) 的输出特性可分为三个区域:截止区、 欧姆区和有源区。 当输出处于截止区时, 由于只有极小电流流动, 可认为器件处于关断状态。 当栅源电压VGS被驱动到足够高时, 器件即进入欧姆区。 此时, 漏源电压 VDS较小, 电流主要由导通电阻决定。
欧姆区是电阻恒定的区域。 在该区域内, 栅源电压介于 0 和阈值电压 VGS(th) ( 也称为“ 夹断电压” ) 之间, 导电沟道开始在源极和漏极之间形成并有电流流过。 如果 VDS 为零, 无论 VGS 如何,漏极电流 ID 也会变为零。 欧姆区的边界由以下公式定义:

有源区是器件以线性模式工作的区域。 在该区域中, 漏极电流主要取决于栅源电压, 不过漏源电压仍可能有一定的影响, 尤其是在 VDS较低时。

125 °C 时安森美(onsemi) 1200 V JFET 的输出特性
在实际应用中, 安森美 JFET 器件在所谓的饱和区( 涵盖大部分有源区 ) , 往往展现出更为平坦的特性曲线 。 这不是“ 线性模式 ” 得名的真正原因 , 但它足够直观 , 便于作为一个参考指标。 紧接着欧姆区, 在 VDS 超过阈值电压之后,仍有一小段区域可被视为非线性区域 。 当电流输出保持平坦时, 开始进入线性模式。
JFET大部分工作时间都处于线性式 。 在此期间, 热量会在芯片中产生, 并扩散到整个封装 , 最终通过散热器消散 。
在线性模式下, JFET对 VDS 不敏感, 但对用于控制电流的VGS 仍然非常敏感。
在线性模式下 , 栅源电压大于夹断电压 , 漏源电压已超过阈值点。 漏极电流 ID 等于该阈值点的平方乘以跨导参数 k, 反映芯片将电压变化转换为电流变化的能力 。 这些参数体现在下方的公式中。

实现浪涌电流限制功能
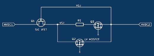
为使 SiC JFET 能够用于限制浪涌电流, 下方的电路在 Q1 处使用 SiC JFET 器件作为恒流源。 电阻 RS 与 JFET 和输出 HVDC 2 串联, 用作反馈元件。 电流 Is 从输入 HVDC 1 流到 JFET , 再流经电阻 RS , 在 RS 两端产生一个电压。 这将设置栅源电压 VGS, 进而设置电流。
对电路施加恒定电流 , 输出电压线性上升 , 直到等于输入电压 。 在此期间 ,JFET 工作在线性模式, 因此 JFET 是唯一产生大量热量的元件, 从而限制流入电容的浪涌电流。

在恒定电流下, 电压线性上升, 直到等于输入电压。 此时, JFET 完全导通。 在此期间, 低压 MOSFET Q2 保持关断。 输出端电容预充电后,Q2 可导通以旁路 RS , 从而避免正常运行期间发生功率损耗。 它是一个简单的源极电阻, 通过 JFET Q1 实现常通特性。

为使源极电阻更加可控并实 现常关特性, 可在电路中添加一个 MOSFET Q3 来进行开/关控制。 当 Q3 设置为关断时, Q2 也会关断, 但更重要的是,Q1 会关断, 电流无法流动。 如此一来, 电路便恢复了常关特性, 而这也是断路器通常应有的特性。

添加 Q3 后, 还能控制电流何时开始流动。 当电流斜坡上升时,Q2 设置为关断。 Q3 导通, 使电流流过 SiC JFET 和电阻 RS ,从而将电流设置为恒定水平 。 当输入和输出电压相等时 , Q1完全导通, 然后可让 Q2 导通以旁路 RS , 以尽可能降低功率损耗。 由于能够对每个晶体管进行单独控制 , 尤其是 JFET ,因此很容易将它们并联布置。


仿真: RS = 50Ω ,电容负载 = 1 mF

更复杂的电路版本借助放大器增加了反馈控制 。 下方电路图展示了一 个常关配置, 通过将 SiC JFET 与常关型低压MOSFET 串联配对来实现。 在该电路中, 齐纳二极管 D2 将JFET 栅极连接到 MOSFET 源极, 而运算放大器未通电, 使JFET 保持关断状态。
放大器会检测通过感测电阻 Rsns的电流, 并将其与栅极控制电流进行比较, 后者可能是可变的 。 现在不再是用简单 、 恒定的电流对电容充电 , 电流曲线可能会改变 , 例如变为恒定功率。 在这种情况下, 可以给 JFET 施加一个略正的电压,将微小电流注入栅极, 使其过驱, 由此可使导通电阻RDS(on)降低约 15% 。 温度感测的工作方式与以前一样, 即通过测量栅源电压 VGS。

采用这种配置时, 很难将 JFET 与一组放大器配合使用, 实现电流的均匀分配。 任何晶体管 , 哪怕是源自同一晶圆的芯片 , 其栅源阈值电压也会存在一定的差异。 应使用一组放大器来控制配对的 SiC JFET 。 记住, 电路可能需要降额运行, 以应对均流不均的情况。
速度控制测试及结果

SiC JFET 为断路器带来了更快的开关速度, 但对于大多数 SSCB 应用,开关速度应设置为典型开关模式应用的 1/50。 要大幅降低器件的速度是不切实际的, 即便添加缓冲器也做不到 。最好单独使用 JFET , 或者使用组合型 JFET 。 无论哪种情况, 您都可以接入 JFET 栅极, 其开关速度可通过栅极电阻直接设置。
为了测试开关速度和性能 , 将一个 SiC JFET 通过电阻 R7 与低压MOSFET 串联, 形成类似共源共栅的结构。 MOSFET 被关断, 导致 JFET被有效关断, 不过栅极电流仍继续流经 R7。 改变 R7 的电阻大小, 就能改变 JFET 的开关速度。
功率半导体器件并联时 , 必须重点关注反馈导致的寄生振荡 。 这种情况可通过调整开关速度来避免。 通过提高 R7 处的栅极电阻, 开关速度可以成比例地降低。电压和电流变化率都会减小。
然而, 这样做的一个代价可能是栅极电荷较高 。 因此, 栅极驱动环路的设计和布局至关重要。 当安森美 SiC JFET 在箝位感性负载下关断时, 电流会从 JFET 沟道转移到另一条路径 , 流经漏栅电容 、 栅极电阻和栅极驱动器 。 输出电容的几乎所有充放电电荷都是由栅极驱动器通过栅极电阻提供或移除的 , 而非借助负载电流 。这使得开关速度极佳 , 如下方结果所示 , 同时最大限度地抑制了振铃 , 避免了寄生振荡的产生。

未完待续。
- 随机文章
- 热门文章
- 热评文章
- 锁鲜黑科技让夏天荔枝冬天吃
- E周见|一汽丰田减产/AEB之争落下帷幕
- 新门派峨眉!《剑侠世界:起源》峨眉论剑资料片今日8点上线
- 科大讯飞(002230):回购注销部分已授予限制性股票
- 太阳能(000591):中节能太阳能股份有限公司董事会提名委员会议事规则
- 美股明年如何投资?富国银行给出建议:卖中小盘股、坚守大盘股
- 强生(JNJ.US)10亿美元引进口服多肽积极试验结果公布
- 我实现单个自由基量子自旋转换调控